[Review] SSD Sabrent Rocket 4 Plus 4 TB – O que já era rápido ficou ainda mais!
Hoje, testaremos um SSD NVMe da fabricante norte-americana Sabrent, do segmento topo de linha, modelo Rocket 4 Plus. Neste teste, constataremos o modelo de 4TB que nos enviaram, entretanto, recentemente lançamos uma análise aprofundada deste mesmo SSD, porém, de sua versão de 1TB.
Ele vem no formato M.2 com barramento de 64Gbps, ou seja, 4 linhas PCIe 4.0, protocolo NVMe 1.4 e capacidades que variam desde 500GB até 8TB. Seu preço geralmente se encontra próximo dos US$699,99, cerca de R$3.500 à R$6.000 no mercado nacional dependendo da loja, o que é um preço bem alto, mas considerando que se trata de um SSD NVMe 4.0 de 4TB, é um preço correspondente à demais modelos de mesma capacidade.
![[Review] SSD Sabrent Rocket 4 Plus 4 TB – O que já era rápido ficou ainda mais! 2 front page modified](https://theoverclockingpage.com/wp-content/uploads/2022/05/front-page-modified.png?w=1024)
Especificações do SSD
A seguir, informações um pouco mais detalhadas sobre o SSD que testado (unidade de 4TB):
![[Review] SSD Sabrent Rocket 4 Plus 4 TB – O que já era rápido ficou ainda mais! 3 especificacoes line up rocket 4 plus](https://theoverclockingpage.com/wp-content/uploads/2022/05/especificacoes-line-up-rocket-4-plus.png?w=1024)
Software SSD
Felizmente a Sabrent oferece uma boa gama de programas para utilizarmos em seus SSDs, programas que vão desde leituras do SMART até opções mais avançadas como atualização de firmware.
![[Review] SSD Sabrent Rocket 4 Plus 4 TB – O que já era rápido ficou ainda mais! 5 sabrent rocket control panel disk info](https://theoverclockingpage.com/wp-content/uploads/2022/04/sabrent-rocket-control-panel-disk-info.jpg)
![[Review] SSD Sabrent Rocket 4 Plus 4 TB – O que já era rápido ficou ainda mais! 6 sabrent rocket control panel disk speed](https://theoverclockingpage.com/wp-content/uploads/2022/04/sabrent-rocket-control-panel-disk-speed.jpg)
![[Review] SSD Sabrent Rocket 4 Plus 4 TB – O que já era rápido ficou ainda mais! 7 sector size conversion](https://theoverclockingpage.com/wp-content/uploads/2022/04/sector-size-conversion.jpg)
Fora isto, a Sabrent possui também uma licença para o software “Acronis True Image“, que disponibiliza diversas funcionalidades, tais como: criação de imagens de backup, proteção contra-ataques de Ransomware, recuperação de imagens de disco, dentre diversas outras opções.
![[Review] SSD Sabrent Rocket 4 Plus 4 TB – O que já era rápido ficou ainda mais! 9 acronis true image 4](https://theoverclockingpage.com/wp-content/uploads/2022/05/acronis-true-image-4.jpg)
![[Review] SSD Sabrent Rocket 4 Plus 4 TB – O que já era rápido ficou ainda mais! 10 acronis true image 5](https://theoverclockingpage.com/wp-content/uploads/2022/05/acronis-true-image-5.jpg)
![[Review] SSD Sabrent Rocket 4 Plus 4 TB – O que já era rápido ficou ainda mais! 11 acronis true image 2](https://theoverclockingpage.com/wp-content/uploads/2022/05/acronis-true-image-2.jpg)
Unboxing
Nesta nossa unidade, foi enviada um bundle contendo o SSD de 4TB junto de um robusto dissipador que a Sabrent vende separadamente, e no decorrer de nossos testes, veremos que em alguns cenários, ele é realmente necessário.
![[Review] SSD Sabrent Rocket 4 Plus 4 TB – O que já era rápido ficou ainda mais! 13 sabrent rocket 4 plus 4tb caixa frontal](https://theoverclockingpage.com/wp-content/uploads/2022/05/sabrent-rocket-4-plus-4tb-caixa-frontal.jpg?w=1024)
![[Review] SSD Sabrent Rocket 4 Plus 4 TB – O que já era rápido ficou ainda mais! 14 sabrent rocket 4 plus 4tb caixa traseira](https://theoverclockingpage.com/wp-content/uploads/2022/05/sabrent-rocket-4-plus-4tb-caixa-traseira.jpg?w=1024)
![[Review] SSD Sabrent Rocket 4 Plus 4 TB – O que já era rápido ficou ainda mais! 15 sabrent rocket 4 plus 4tb embalagem frontal 2](https://theoverclockingpage.com/wp-content/uploads/2022/05/sabrent-rocket-4-plus-4tb-embalagem-frontal-2.jpg?w=1024)
![[Review] SSD Sabrent Rocket 4 Plus 4 TB – O que já era rápido ficou ainda mais! 16 sabrent rocket 4 plus 4tb embalagem frontal](https://theoverclockingpage.com/wp-content/uploads/2022/05/sabrent-rocket-4-plus-4tb-embalagem-frontal.jpg?w=1024)
![[Review] SSD Sabrent Rocket 4 Plus 4 TB – O que já era rápido ficou ainda mais! 17 sabrent rocket 4 plus 4tb protecao ssd](https://theoverclockingpage.com/wp-content/uploads/2022/05/sabrent-rocket-4-plus-4tb-protecao-ssd.jpg?w=1024)
![[Review] SSD Sabrent Rocket 4 Plus 4 TB – O que já era rápido ficou ainda mais! 18 sabrent rocket 4 plus 4tb ssd na](https://theoverclockingpage.com/wp-content/uploads/2022/05/sabrent-rocket-4-plus-4tb-ssd-na-caixa.jpg?w=1024)
Construção e acabamento
Sobre sua construção interna, essa linha vem no formato M.2 2280, protocolo NVMe 1.4, vemos também que se trata de um SSD Dual-sided, ou seja, possui C.I.s apenas em ambos os lado superior, e inferior, porém, nas unidades de 500GB e 1TB já são SSDs Single-Sided, sendo que possuem NAND Flashs e DRAM Cache em seu PCB Frontal apenas.
![[Review] SSD Sabrent Rocket 4 Plus 4 TB – O que já era rápido ficou ainda mais! 19 sabrent rocket 4 plus 4tb ssd frontal](https://theoverclockingpage.com/wp-content/uploads/2022/05/sabrent-rocket-4-plus-4tb-ssd-frontal.jpg?w=1024)
![[Review] SSD Sabrent Rocket 4 Plus 4 TB – O que já era rápido ficou ainda mais! 20 sabrent rocket 4 plus 4tb ssd traseiro](https://theoverclockingpage.com/wp-content/uploads/2022/05/sabrent-rocket-4-plus-4tb-ssd-traseiro.jpg?w=1024)
Seu controlador se localiza na parte superior junto de 4 chips NAND Flashs e um C.I. DRAM-Cache.
![[Review] SSD Sabrent Rocket 4 Plus 4 TB – O que já era rápido ficou ainda mais! 21 sabrent rocket 4 plus 4tb pcb frontal](https://theoverclockingpage.com/wp-content/uploads/2022/05/sabrent-rocket-4-plus-4tb-pcb-frontal.jpg?w=1024)
![[Review] SSD Sabrent Rocket 4 Plus 4 TB – O que já era rápido ficou ainda mais! 22 sabrent rocket 4 plus 4tb pcb traseiro](https://theoverclockingpage.com/wp-content/uploads/2022/05/sabrent-rocket-4-plus-4tb-pcb-traseiro.jpg?w=1024)
Acima vemos fotos de ambos os lados do PCB.
Outro detalhe interessante à se mencionar é o tamanho do dissipador que este SSD acompanha neste bundle, que dependendo do seu cooler de processador pode interferir na instalação do SSD como demostraremos a seguir:
Felizmente, ainda há uma certa “clearence” ou brecha como folga, mas é algo a se considerar caso seja utilizado em placas mãe mini ITX, por exemplo, aonde um dos slots M.2 pode se localizar atrás da placa mãe, que geraria sérios problemas de thermal throttling como observaremos no decorrer desta análise.
Controlador
O controlador do SSD é o responsável por fazer todo o gerenciamento de dados, over provisioning e garbage collection, dentre outras funções que ocorrem em segundo plano. E, é claro, faz com que o SSD tenha um bom desempenho.
Este SSD usa um controlador high-end da Phison: o PS5018-E18-41, modelo ISA ARM 32-bit de “5” núcleos Cortex® R5 (Penta-core) com processo de fabricação da TSMC de 12nm. Trabalha com clock de 1 GHz em seus núcleos principais. Neste caso, este controlador é comum em outros projetos de SSDs topo de linha como Corsair MP600 HydroX, MP600 Pro, Galax Hall of Fame Extreme, os novos Aorus Xtreme dentre outros modelos.
Neste caso, trata-se de um controlador triple-core, ou seja, com 3 núcleos principais que fazem o gerenciamento das Nands, com suporte à tecnologia chamada “CoXprocessors” – que nada mais é que outro núcleo Dual-Core Cortex® R5 com frequência bem reduzida (geralmente 200~300 MHz) no intuito de realizar tarefas mais simples e preditivas, assim, é possível diminuir a carga dos 3 núcleos principais, além do consumo elétrico e dissipação de calor que pode gerar thermal throtling, tendo em vista que este SSD pode chegar a consumir quase 9W. Uma destas funções, por exemplo, é cuidar de trechos repetitivos de códigos e funções de firmware que os núcleos principais não teriam necessidade de fazer, além de gerenciar o armazenamento de dados na DRAM Cache, enquanto isso, os núcleos principais são alocados para tarefas como Escrita/Leitura/Host.
Este controlador também possui suporte para até 8 canais de comunicação com barramento de até 1600 MT/s, aonde cada um desses canais possui suporte até 4 comandos Chip Enable, o que possibilita este controlador se comunicar com até 32 Dies simultaneamente utilizando a técnica de Interleaving.
DRAM Cache ou H.M.B.
Todo SSD topo de linha que visa oferecer um alto desempenho consistente necessita de um buffer para poder armazenar suas tabelas de mapeamento (Flash Translation Layer ou Look-up table), com isso, ele consegue ter desempenho aleatório melhor e ser mais responsivo.
Como podemos observar na imagem acima, este SSD de 4 TB utiliza dois C.I.s como DRAM Cache, sendo este Chip da SK Hynix modelo, “H5AN8G6NDJR-XNC”, que é um chip do tipo DDR4 de 8Gb de densidade (1 GB), totalizando 2GB, que opera em frequências de até 3.200 MT/s com latências CL-22-22-22, porém, devido à limitação do IMC integrado no próprio Phison E18, este Chip DRAM Cache opera em 2666 MT/s com latência menor também, aonde neste barramento é a velocidade máxima de seu controlador de memória.
Certas pessoas iram pensar – Nossa, mas apenas 2GB para um SSD de 4TB? Não seria necessário 4GB para tal? De fato criou-se na indústria um padrão aonde para se armazenar 4 MiB de dados, ser necessários 4 KiB de dados de mapeamento, porém isto em um cenário muito incomum para um SSD, um típico SSD como este para uso convencional ou até certos ramos profissionais, se comportaria da mesma forma se tivesse 512 MB de DRAM Cache, o que para a esmagadora maioria dos casos é suficiente. Apenas em alguns cenários de escritas extensas em pequenas queue depths e utilizando blocos de tamanhos muito pequenas que o uso desses endereçamentos aumenta bastante, mas ainda sim muito menor do que os 2GB empregados neste SSD.
Portanto, ao tentar utilizar 4GB neste SSD de 4TB, ou 8GB no de 8TB aumenta-se drasticamente o custo do projeto, fazendo com que seu preço final seja menos atraente e gerando um número menor vendas devido ao alto preço, sendo que pelo fato de ter mais DRAM não afetaria em nada em seu desempenho de uso prático.
NAND Flash
Com relação a seus circuitos integrados de armazenamento, o SSD de 4TB possui 8 chips Nand flashs marcados como “IA8HG94AYA”. Tratam-se de Nands da fabricante norte-americana Micron, sendo neste caso dies de 512Gb (64GiB) contendo 176-Layers de dados sendo um total de 195-layers gerando uma “Array Efficiency” de 90.3%.
Neste SSD, cada NAND Flash possuem 8 dies de 512Gb de densidade totalizando 512 GiB por cada NAND Flash, sendo que cada die se comunica com o controlador a uma velocidade de barramento de 1200 MT/s, que é o máximo estipulado nos Datasheets destes dies, entretanto, eles podem operar com total segurança em 1600 MT/s, o que geraria uma maior largura de banda podendo assim gerar um maior desempenho. Porém, por fins de durabilidade e confiabilidade, a Sabrent optou em utilizar um firmware com as NANDs operando em 1200 MT/s.
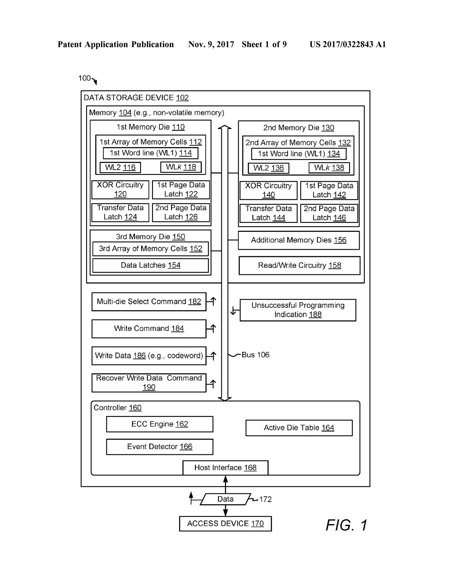
Uma curiosidade interessante deste SSD é que, como mencionado anteriormente no setor do controlador, ele consegue se comunicar se intercalando com até 32 dies, portanto como ele faz para se comunicar com 64 dies?
Neste caso apenas a técnica de interleaving não é suficiente, ele intercala até 4 dies por cada canal, aonde 4 comandos C.E. por canal com um total de 8 dies, gera-se um total de até 32 dies (4-way Interleaving) que ele se comunica. Para isso é empregado um comando conhecido como M.D.S. (Multi-Die-Select) e não “Meu Deus” como alguns de vocês provavelmente pensaram ?, aonde diversas empresas como Intel, Sandisk, YMTC implementam de forma um pouco diferentes entre si, mas explicarei brevemente como funciona.
Nesta implementação, os núcleos do controlador executam este comando 182 (como no exemplo acima) que gera um comando MDS e após isto ele consegue alocar mais de um die por cada comando chip enable. Ou seja, quando primeiro Die (110) é selecionado pelo controlador (160) como um die que está sendo ativado (controlador vai se comunicar com ele) e o segundo die (130) estiver marcado como desativado, o controlador mandará este comando MDS (182) através do barramento (106) da memória. Então, o comando MDS (182) identifica os dies que estão para receber os dados de escrita que, mesmo assim não foram selecionados como endereços para processo de escrita. Com isso, caso o comando de escrita (184) identifique as primeiras Word-lines (Layers) (114) do primeiro die (110), o controlador (160) mandaria o comando MDS (182) antes mesmo do comando de escrita (184).
Neste exemplo, em resposta para o comando MDS (182), o Transfer data latch (144) do segundo die pode ser ativado para receber os dados de escrita (186), mesmo que o comando de escrita (184) esteja associado com os dados de escrita (186) não se identifiquem como local de acesso para escrita no segundo die (130)
Em resumo, embora com isto o controlador consiga se comunicar com estes 64 dies, não conseguimos extrair um desempenho maior em sua escrita, pois teoricamente, como o SSD de 1TB tinha 16 dies que entregavam velocidades próximas de 125 MB/s cada die, tínhamos uma velocidade média de escrita de cerca de 1920 MB/s (16 x 125 MB/s), enquanto a unidade de 2TB, que possui 32 dies com mesmo barramento de 125 MB/s, conseguiria uma largura de banda de cerca de 3840 MB/s (32x 125 MB/s), sendo basicamente idêntico a este de 4TB, que caso tivesse sido utilizado um controlador com suporte até 64 dies, este SSD conseguiria atingir velocidade de escrita de gravação sustentada maiores que 7.680 MB/s (64x 125 MB/s), o que dispensaria até mesmo o uso de pSLC Cache dinâmicos para acelerar a escrita do SSD, podendo implementar apenas um volume menor estático com foco em aumentar a endurance e diminuir o WAF deste SSD.
Este dies possuem uma nova topologia da Micron conhecida como Replacement Gate (R.G.) que basicamente combina a arquitetura de Charge trap com a tecnologia de CuA (CMOS-under-Array) o que faz desta forma com que o Peripheral Circuitry não ocupe um espaço desnecessário no die, permitindo desta forma termos dies de tamanhos de até 30% menores.
Outra inovação que eles fizeram foi que eles conseguiram diminuir bem a complexidade nos processos de “programming” e até mesmo o Overhead graças a troca dos Silicon Gates que costumavam usar Polysilicon, agora usam apenas metal, junto disto estão usando outra técnica de “Etching“ que seria a furação que eles utilizam para colocar os circuitos e strings, diminuindo a resistência.
Com isto estes Dies conseguem um throughput cerca de até 35% maior em comparação as NANDs B27B que são as Micron de 96-Camadas da penúltima geração lançadas à alguns anos atrás.
PMIC (Power Delivery)
Assim como qualquer componente eletrônico que exerce algum funcionamento, SSDs também possuem um nível de consumo de energia que pode variar desde poucos miliwatts até próximo de 10 watts, beirando o limite de alguns conectores ou slots. O circuito responsável por todo gerenciamento de energia é o PMIC, que significa “Power Management IC“, um chip responsável por prover alimentação para demais componentes. Neste caso, vemos que o responsável neste SSD é o “PS6108-22“, que embora deva simbolizar “Phison“, é uma remarcação de algum outro C.I. que eu acredito ser algum Texas Instruments.
Ao lado deste C.I. vemos inúmeros indutores, capacitores, resistores dentre outros circuitos eletrônicos com foco em prover alimentação para os principais componentes do SSD.
CURIOSIDADES SOBRE O SSD SABRENT ROCKET 4 PLUS 4TB
Da mesma forma que circuitos integrados de memória RAM em um pente de memória sofrem variação, o mesmo ocorre com SSDs, nos quais há casos de mudanças de componentes como controlador e NAND flashs.
Quando este line-up de SSD foi lançado oficialmente em novembro de 2020, as NANDs Micron B47R ainda não haviam sido lançadas, este line-up utilizavam as Micron B27B que são dies de 96-Layers (512Gb) de boa qualidade com barramento de 1200 MT/s. Porém, elas ofereciam uma largura de banda bem menor em comparação às B47R.
Como observamos nas imagens acima, de um comparativo realizado pelo site Tweaktown, vemos que a unidade de 4 TB tinham 8 NAND Flashs com um total de 64 dies B27B, a Sabrent informa que com esta troca foi possível oferecer o mesmo nível de desempenho no pior cenário e em múltiplos cenários houve um ganho de desempenho considerável, o que é um ponto positivo, pois, embora o fabricante não tenha feito um anúncio prévio sobre esta troca, foi realizado um upgrade destes SSDs. Uma das possíveis formas de distinguir ambas as unidades é seu firmware, as unidades mais antigas com dies de 96-Layers possuíam firmware “RKT4P1.2” enquanto a nova unidade possui o “R4PB47.2“.
METODOLOGIA DE TESTES
Nesta bateria de testes, serão utilizados softwares como Crystal Disk Mark, PCMark 10 (versão paga), IOmeter, 3DMark, ATTO Disk Benchmark, Adobe Premiere, além de utilizar o GTA V para teste de tempo de carregamento de games e tempo de carregamento de Boot do Windows 10 e 11 utilizando o Bootracer.
Importante ressaltar que, quaisquer breves mudanças no sistema operacional, plataforma utilizada seja Intel ou AMD, versão de drivers como Chipset, modelo de processador, modelo de placa mãe, versões do Sistema Operacional, podem gerar resultados com uma diferença deste apresentado, levando isto em conta, a seguir será listado todas as especificações da bancada utilizada, sendo que cada teste realizado foi aferido 3 vezes tendo utilizado a média de cada resultado.
BANCADA DE TESTES
– Sistema Operacional: Windows 10 Pro 64-bit (Build: 21H2) + Windows 11 Pro 64-bit (Build: 21H2)
– Processador: AMD Ryzen 9 5950X (16C/32T) (Frequência fixa em todos os núcleos, 4 GHz)
– Memória RAM: 2 × 16 GB DDR4-3200MHz CL-16 Netac (c/ XMP)
– Placa-mãe: Gigabyte Aorus B550 Vision D (Bios Ver.: F15a)
– Placa de Vídeo: GTX 780 Windforce Gigabyte 3X OC (Drivers: 472.98)
– Armazenamento (OS): SSD XPG Gammix S70 Blade 1TB (Firmware: 3.2.F.P7)
– SSD testado: SSD Sabrent Rocket 4 Plus 1TB (Firmware: R4PB47.3)
– Versão drive Chipset AMD B550: 4.03.03.431.
– Windows: Indexação desabilitada para não afetar resultados dos testes.
– Windows: Atualizações do Windows updates desabilitados para não afetar resultados dos testes.
– Windows: A maioria dos aplicativos do Windows desabilitados de rodar em segundo plano.
– Teste Boot Windows: Imagem limpa com apenas drivers e todos os updates.
– Teste de pSLC Cache: O SSD é arrefecido por fans para não gerar thermal throtling, interferindo no resultado.
– Windows: Anti-Vírus desabilitado para diminuir variação de cada Rodada.
– SSDs Testados: Utilizado como disco secundário, com 0% de espaço sendo utilizado e outros testes com 50% de espaço utilizado para representar um cenário realista.
CRYSTALDISKMARK
Realizamos testes sintéticos sequenciais e aleatórios com as seguintes configurações:
Sequencial: 2x 1 GiB (Blocos 1 MiB) 8 Queues 1 Thread
Aleatórios: 2x 1 GiB (Blocos 4 KiB) 1 Queue 1/2/4/8/16 Threads
![[Review] SSD Sabrent Rocket 4 Plus 4 TB – O que já era rápido ficou ainda mais! 33 leitura sequencial](https://theoverclockingpage.com/wp-content/uploads/2022/05/leitura-sequencial.png?w=749)
![[Review] SSD Sabrent Rocket 4 Plus 4 TB – O que já era rápido ficou ainda mais! 34 escrita sequencial](https://theoverclockingpage.com/wp-content/uploads/2022/05/escrita-sequencial.png?w=749)
Como podemos observar nos gráficos de velocidade sequenciais acima, ambos os NV7000 e os Sabrent ficam muito próximos um dos outros.
![[Review] SSD Sabrent Rocket 4 Plus 4 TB – O que já era rápido ficou ainda mais! 35 latencia de leitura](https://theoverclockingpage.com/wp-content/uploads/2022/05/latencia-de-leitura.png?w=749)
![[Review] SSD Sabrent Rocket 4 Plus 4 TB – O que já era rápido ficou ainda mais! 36 latencia de escrita](https://theoverclockingpage.com/wp-content/uploads/2022/05/latencia-de-escrita.png?w=749)
Ao comparamos suas latências em acesso de pequenos blocos de arquivos e em pequenas queue depths que representa um dos cenários mais realísticos do uso do dia a dia, vemos que novamente houve um empate técnico deste SSD com seu irmão menor de 1TB junto do Netac NV7000.
![[Review] SSD Sabrent Rocket 4 Plus 4 TB – O que já era rápido ficou ainda mais! 37 leitura aleatoria qd4](https://theoverclockingpage.com/wp-content/uploads/2022/05/leitura-aleatoria-qd4.png?w=749)
![[Review] SSD Sabrent Rocket 4 Plus 4 TB – O que já era rápido ficou ainda mais! 38 escrita aleatoria qd4](https://theoverclockingpage.com/wp-content/uploads/2022/05/escrita-aleatoria-qd4.png?w=749)
Ao testarmos com um cenário aleatória um pouco mais exigente vemos que em sua leitura ele acabou ficando para trás do XPG S70 blade por uma pequena desvantagem, imperceptível. Já em sua leitura foi o drive cujo apresentou as maiores velocidades.
![[Review] SSD Sabrent Rocket 4 Plus 4 TB – O que já era rápido ficou ainda mais! 39 leitura aleatoria qd1](https://theoverclockingpage.com/wp-content/uploads/2022/05/leitura-aleatoria-qd1.png?w=749)
![[Review] SSD Sabrent Rocket 4 Plus 4 TB – O que já era rápido ficou ainda mais! 40 escrita aleatoria qd1](https://theoverclockingpage.com/wp-content/uploads/2022/05/escrita-aleatoria-qd1.png?w=749)
Agora ao utilizarmos o CDM configurado com apenas 1 thread que representa um tipo mais convencionais de acesso no dia a dia, ele se comportou como anteriormente, aonde sua leitura foi similar aos demais SSDs de 1TB testado recentemente, enquanto sua escrita desta vez foi a maior vista até o momento.
Neste teste que realizamos acima, foram utilizadas 3 configurações de acessos entre diversas configurações de queue depth desde QD1 que represente um uso cotidiano do dia a dia, quanto QD16 que já se torna bem surreal, mais comparável com ambientes virtualizados.
Com isto, vemos que o Sabrent entrega até mais de 700.000 IOPS de escrita em uma QD menor do que a testada por eles, provando um excelente resultado, embora seja em cenários totalmente irrealísticos.
ATTO Disk Benchmark QD1 e QD4
Realizamos um teste utilizando o ATTO para observar a velocidade dos SSDs em determinados tamanhos de blocos diferentes. Neste benchmark, foi configurado da seguinte forma:
Blocos: de 512 Bytes até 8 MiB
Tamanho do arquivo: 256MB
Queue Depth: 1 e 4.
![[Review] SSD Sabrent Rocket 4 Plus 4 TB – O que já era rápido ficou ainda mais! 42 atto leitura qd4](https://theoverclockingpage.com/wp-content/uploads/2022/05/atto-leitura-qd4.png?w=750)
![[Review] SSD Sabrent Rocket 4 Plus 4 TB – O que já era rápido ficou ainda mais! 43 atto escrita qd4](https://theoverclockingpage.com/wp-content/uploads/2022/05/atto-escrita-qd4.png?w=752)
O ATTO disk benchmark é um software que faz um teste de velocidade sequencial com arquivos comprimidos, ou seja, para uma simulação em uma carga de transferência de dados como no windows, geralmente vemos algo em torno dos blocos de 128KB à 1 MiB, agora vemos que em blocos de 512 bytes até 16 KB, que se trata dos cenários de operações aleatórias mais comuns, o Sabrent de 4TB conseguiu uma performance bem similar ao seu irmão de 1TB, apenas em tamanhos de blocos maiores que ele conseguiu se distanciar bem da unidade de 1TB
![[Review] SSD Sabrent Rocket 4 Plus 4 TB – O que já era rápido ficou ainda mais! 44 atto escrita qd1](https://theoverclockingpage.com/wp-content/uploads/2022/05/atto-escrita-qd1.png?w=751)
![[Review] SSD Sabrent Rocket 4 Plus 4 TB – O que já era rápido ficou ainda mais! 45 atto leitura qd1](https://theoverclockingpage.com/wp-content/uploads/2022/05/atto-leitura-qd1.png?w=752)
Ao testarmos em QD1 vemos que a diferença caiu ainda mais, o que foi novamente um excelente resultado para este SSD Sabrent.
3DMark – Storage Benchmark
Neste benchmark, são realizados diversos testes voltados a armazenamento, incluindo testes de carregamento de games como Call of Duty Black Ops 4, Overwatch, gravação e streaming com o O.B.S. de uma gameplay à 1080p 60 FPS, instalação de alguns games e transferências de arquivos de pastas de games.
![[Review] SSD Sabrent Rocket 4 Plus 4 TB – O que já era rápido ficou ainda mais! 48 3dmark bandwidht](https://theoverclockingpage.com/wp-content/uploads/2022/05/3dmark-bandwidht.png?w=756)
![[Review] SSD Sabrent Rocket 4 Plus 4 TB – O que já era rápido ficou ainda mais! 49 3dmark latencia](https://theoverclockingpage.com/wp-content/uploads/2022/05/3dmark-latencia.png?w=756)
Podemos observar que em cenários mais práticos este Sabrent de 4TB teve uma performance muito semelhante aos demais SSDs de 1TB NV7000 e Rocket 4 Plus de 1TB o que foi um excelente resultado, mas é difícil em uso casual extrair mais desempenho, princialmente em games de SSDs como este de 4 TB, pelo menos por enquanto.
PCMARK 10 – FULL SYSTEM DRIVE BENCHMARK
Neste teste, foi utilizada a ferramenta Storage Test e o teste “Full System Drive Benchmark”, que faz testes leves e pesados no SSD.
Dentre estes traces podemos observar testes como:
– Boot Windows 10
– Adobe After Effects: Iniciar a aplicação até estar pronto para uso
– Adobe Illustrator: Iniciar a aplicação até estar pronto para uso
– Adobe Premiere Pro: Iniciar a aplicação até estar pronto para uso
– Adobe Lightroom: Iniciar a aplicação até estar pronto para uso
– Adobe Photoshop: Iniciar a aplicação até estar pronto para uso
– Battlefield V: Tempo de carregamento até o menu iniciar
– Call of Duty Black Ops 4: Tempo de carregamento até o menu iniciar
– Overwatch: Tempo de carregamento até o menu iniciar
– Usando Adobe After Effects
– Usando Microsoft Excel
– Usado Adobe Illustrator
– Usando Adobe InDesign
– Usando Microsoft PowerPoint
– Usando Adobe Photoshop (Uso intenso)
– Usando Adobe Photoshop (Uso mais leve)
– Copiando 4 arquivos ISOs, 20GB ao total de um disco secundário (Teste de Escrita)
– Realizando a cópia do arquivo ISO (Teste de leitura-escrita)
– Copiando o arquivo ISO para um disco secundário (Leitura)
– Copiando 339 arquivos JPEG (Fotos) para o disco sendo testado (Escrita)
– Criando cópias destes arquivos JPEG (Leitura-Escrita)
– Copiando 339 arquivos JPEG (Fotos) para outro disco (Leitura)
Constatamos que este SSD junto dos outros que também possuem Phison E18 tiveram um resultado bem semelhante, embora acima dos demais SSDs do comparativo.
TESTE DE PROJETO – Adobe Premiere Pro 2021
A seguir, utilizamos o Adobe Premiere para medir o tempo médio de abertura de um projeto de cerca de 16.5GB com resolução 4K, 120Mbps de bitrate, cheio de efeitos até que estivesse pronto para edição. Ressaltando apenas que o SSD testado é sempre como drive secundário sem o sistema operacional instalado, pois, isso poderia afetar o resultado e geraria inconsistências.
Vemos que neste benchmark o Sabrent de 4TB acabou ficando um pouco atrás do seu irmão menor de 1TB, mas ainda sim, apresentou um ótimo resultado. Uma curiosidade é que SSDs deste tamanho são ótimos para quem trabalha com este ramo profissional porque estes softwares da Suite Adobe, são caracterizados por criar cada vez mais arquivos de mídia de cache de projetos e as trilhas de áudios são calculadas para detecção (Conforming) conforme for maior o tamanho do projeto, e com isso SSDs de maior armazenamento se beneficiam mais tendo em vista que estes arquivos de cache com o tempo podem ocupar um bom espaço.
TESTE DE TEMPO DE CARREGAMENTO DE GAMES E WINDOWS
Fizemos uma comparação entre múltiplos SSDs e um HD, utilizando uma instalação limpa do Windows 10 Build 21H1 junto do GTA 5 abrindo o modo campanha. O teste consiste no melhor resultado após três boots seguidos do sistema, considerando o tempo total até finalizar na área de trabalho com o score informado pelo aplicativo. Por isso, é mais lento do que o boot até mostrar a tela da área de trabalho.
Ao utilizarmos o jogo GTA V vemos que ele teve basicamente um empate técnico com o XPG Gammix S70 Blade e o NV5000.
![[Review] SSD Sabrent Rocket 4 Plus 4 TB – O que já era rápido ficou ainda mais! 55 windows 10](https://theoverclockingpage.com/wp-content/uploads/2022/05/windows-10.png?w=756)
![[Review] SSD Sabrent Rocket 4 Plus 4 TB – O que já era rápido ficou ainda mais! 56 windows 11](https://theoverclockingpage.com/wp-content/uploads/2022/05/windows-11.png?w=756)
Podemos constatar acima que ele conseguiu apresentar bons resultados em comparação aos demais SSDs do comparativo embora a diferença prática entre eles seja bem superficial neste teste, pois, 5 segundos à mais para iniciar o sistema não atrapalha, considerando que neste programa consta deste o tempo de boot até o carregamento dos últimos drivers do OS. O que neste caso é feito uma instalação limpa com apenas drivers de sistema operacional, como de Rede, Wire-less + Bluetooth, Áudio, Drivers Nvidia, PCH dentre outros.
TESTE DE VELOCIDADE SUSTENTADA | SLC CACHING
Em boa parte de SSDs no mercado atualmente utiliza como base a tecnologia de SLC Caching, em que certo percentual de sua capacidade de armazenamento, seja ele MLC (2 bits p/ célula), TLC (3 bits p/ célula) ou QLC (4 bits p/ célula), é usado para armazenar apenas 1 bit por célula. No caso, é usada como um buffer de escrita e leitura, em que o controlador inicia a gravação e quando o Buffer se esgota ele escreve nas NAND Flash nativas (MLC / TLC / QLC).
Através do IOmeter, podemos ter uma ideia do volume de SLC cache deste SSD, já que o fabricante muitas vezes não informa este valor. Pelos testes que realizamos, foi possível constatar que ele possui um volume de pSLC Cache dinâmico, cerca de 440GB, que conseguiu manter velocidade média de ~ 6738 MB/s até o fim do buffer, o que foi um incrível resultado.
![[Review] SSD Sabrent Rocket 4 Plus 4 TB – O que já era rápido ficou ainda mais! 60 pslc cache copyback](https://theoverclockingpage.com/wp-content/uploads/2022/05/pslc-cache-copyback.png?w=756)
![[Review] SSD Sabrent Rocket 4 Plus 4 TB – O que já era rápido ficou ainda mais! 61 pslc cache velocidade media pos pslc](https://theoverclockingpage.com/wp-content/uploads/2022/05/pslc-cache-velocidade-media-pos-pslc.png?w=756)
![[Review] SSD Sabrent Rocket 4 Plus 4 TB – O que já era rápido ficou ainda mais! 62 pslc cache velocidade nativa](https://theoverclockingpage.com/wp-content/uploads/2022/05/pslc-cache-velocidade-nativa.png?w=756)
Após ele ter gravado 440GB, ele começou a escrever nos blocos programados nativamente como TLC, aonde gravou de 441GB até 3452GB, apresentando velocidade média de 3838 MB/s, que é sua velocidade nativa de gravação caso o pSLC Cache não estivesse presente neste SSD, o que é algo insano, para uma breve comparação, a velocidade nativa de gravação sustentada pós pSLC Cache deste SSD é maior do que a de SSDs PCIe 3.0 x4 topo de linha na região de SLC Cache.
Após ele ter gravado mais de 3TB de dados a quase 4GB/s, o SSD ficou sem espaço, portanto precisou pegar os primeiros blocos de cada plane/die e reprogramá-los como TLC novamente, isto gera um overhead, que impacta bastante na performance. Observamos que neste SSD nesta região conhecida como Copyback ele apresentou uma média de 1681 MB/s, o que novamente é insano. Para uma breve comparação, a média de gravação geral do SSD Netac NV7000 1TB que restamos recentemente tinha uma velocidade média pós pSLC Cache (Nativa + Copyback) de 1680 MB/s. Ou seja, o pior cenário de gravação deste SSD Sabrent é melhor que a velocidade média do NV7000, enquanto a velocidade de copyback de ambos os NV7000 e Sabrent Rocket 4 Plus de 1TB foi próximo dos 970 MB/s, cerca de 700 MB/s, inferior desta unidade de 4TB.
Novamente relembrando que esta velocidade também é característica de SSDs de 2TB como o NV7000 2TB dentre diversos outros SSDs com 32 dies B47R com controlador Phison E18 dependendo da implementação de seu pSLC Cache. Como mencionado anteriormente, caso este controlador não estivesse sendo o fator limitante por não conseguir se comunicar com os 64 dies, suas velocidades sustentadas de escrita poderiam em teoria ser cerca de 2x maior que as atuais, ultrapassando os 7 GB/s.
Realizamos também um teste para ver quanto tempo o SSD levaria para recuperar parte de seu Buffer e, no decorrer da nossa bateria de testes, que vai de 30 segundos até 2 horas em idle. E durante este período vemos que o SSD não conseguiu recuperar nem se quer 1GB de espaço. Isto ocorre com diversos SSDs com controlador Phison E18 ao combiná-los com NANDs como B47R e B27B (B27B são Micron 96-Layers).
Pois quando este controlador foi lançado até agora, a Phison junto aos fabricantes de SSDs estão aprimorando o firmware deste controlador, se repararmos em diversas análises de SSDs com Phison E18 de 1TB, 2TB e 4TB, veremos que o volume de pSLC Cache se mantém próximo dos 110GB~112GB e 220GB~225GB e 440GB~450GB respectivamente. Começamos a ver novas mudanças a poucos meses com diversos SSDs, como os novos Kingston Fury ou Kingston KC3000, configurados para operar em “full pSLC Cache”, que seria um SSD que utiliza sua capacidade inteira programada como pSLC. Por exemplo, em um SSD de 1TB, veríamos um volume de pSLC Cache de cerca de 333GB e assim por diante. E também começamos a ver novas implementações de pSLC Cache híbridos em outros SSDs com E18+B47R, aonde temos uma pequena porção que é estática e geralmente não precisa ser reprogramada de volta para TLC, pois, se localiza em local fora de alcance da zona de LBA, ou seja, compartilha espaço de Over-provisioning, junto de uma sessão dinâmica com intuito de deixar uma velocidade maior por um maior tempo.
TESTE DE CÓPIA DE ARQUIVOS
Neste teste, será foi feita a cópia dos arquivos ISOs e do CSGO de uma RAM Disk para o SSD para ver como ele se sai. Foram utilizadas a ISO do Windows 10 21H1 de 6.25GB (1 arquivo) e sua versão extraída com o Winrar para uma pasta contendo 1.874 arquivos menores juntos da Pasta de instalação do CSGO de 25.2GB.
Neste teste vemos que ele teve outro empate técnico, porém desta vez com o NV5000 1TB, embora seja uma diferença imperceptível.
Agora com a pasta descompactada ele conseguiu ultrapassar o NV5000 e ficou em um empate técnico com o NV7000.
Ao utilizarmos a pasta do CSGO vemos que novamente ele conseguiu o menor tempo do comparativo ficando 2 segundos mais rápido que o S70 Blade, graças a sua velocidade sustentada de escrita que em cenários aonde o pSLC Cache acaba, ainda entrega velocidade estupendas.
TESTE DE TEMPERATURA
Neste trecho da análise, observaremos a temperatura do SSD durante um teste de stress, onde o SSD recebe arquivos de forma contínua, para podermos saber se houve algum thermal throtling com seus componentes internos que pudessem gerar algum gargalo ou perda de performance.
![[Review] SSD Sabrent Rocket 4 Plus 4 TB – O que já era rápido ficou ainda mais! 67 sabrent rocket 4 plus 4tb aferindo temperatura](https://theoverclockingpage.com/wp-content/uploads/2022/05/sabrent-rocket-4-plus-4tb-aferindo-temperatura.jpg?w=1024)
![[Review] SSD Sabrent Rocket 4 Plus 4 TB – O que já era rápido ficou ainda mais! 68 sabrent rocket 4 plus 4tb aferindo temperatura 2](https://theoverclockingpage.com/wp-content/uploads/2022/05/sabrent-rocket-4-plus-4tb-aferindo-temperatura-2.jpg?w=1024)
![[Review] SSD Sabrent Rocket 4 Plus 4 TB – O que já era rápido ficou ainda mais! 70 temperatura grafico x tempo](https://theoverclockingpage.com/wp-content/uploads/2022/05/temperatura-grafico-x-tempo.png?w=778)
Como podemos observar no gráfico acima, o SSD mesmo com um dissipador em um ambiente sem fluxo de ar ainda sim, consegue alcançar temperaturas altas em escritas longas ou excessivas. Removendo seu dissipador, vemos que diminui a temperatura, pois ele atingiu o pico de proteção contra thermal throttling fazendo com que sua velocidade caia de 4 GB/s para poucos MB/s.
Minha sugestão, se forem utilizar este SSD, mesmo que para uso bem básico, já comprem um dissipador para ele, pois não basta o controlador ser conhecido por seu consumo elétrico elevado, ele esquenta bem também fora a imensa quantidade de Dies que contribuiu consideravelmente para estes resultados. Caso desejado a Sabrent vende separadamente este dissipador que observamos nas imagens acima, embora qualquer dissipador vai contribuir em comparação à não utilizar nenhum.
Conclusão
Levando tudo isso em conta, realmente será que vale a pena investir neste SSD?
Vamos lá, sem dúvida é um SSD com desempenho extraordinário, mas não se trata de um produto com foco na maioria do público geral, que procuram armazenamentos de 500GB à 1TB voltados ao custo benefício. E sim ao público mais extremo que ou procura o máximo de desempenho possível em um SSD, ou mesmo capacidade, pois não são tão comuns SSDs desta densidade do tipo TLC. Levando isto em conta, recomendo sim este SSD para cenários mais profissionais ou para pessoas que queiram e possam investir esta quantidade em um drive voltado à armazenamento massivo, embora a unidade de 2TB seja muito mais apelativa por seu custo por gigabyte.
- Velocidade Sequencial incríveis
- Velocidades Aleatória excelentes em múltiplos cenários
- Apresentou ótimos resultados de latência
- Excelente desempenho prático em diversos cenários e perfeito para cenários de ramo profissionais
- Teve um upgrade de suas NANDs de suas antigas 96-Layers, deixando-o mais rápido
- Construção interna impecável, excelente controlador junto dos melhores dies disponíveis
- Oferece software de gerenciamento junto de um de software clonagem pago
- Volume de pSLC Cache imenso
- Velocidade sustentada de gravação pós pSLC Cache extraordinária.
- Durabilidade excelente de 3000 TB.
- Garantia de 5 Anos Global (1 ano se não registrar no site)
- Se não for utilizado dissipador sofre thermal throttling mais severo em cargas extensas/longas
- Volume de pSLC Caching demora para se recuperar
- Não possui criptografia
- Preço elevado, porém de acordo com outras soluções de 4TB M.2 do mercado

![[Review] SSD Sabrent Rocket 4 Plus 4 TB – O que já era rápido ficou ainda mais! 4 sabrent rocket control panel](https://theoverclockingpage.com/wp-content/uploads/2022/04/sabrent-rocket-control-panel.jpg?w=780)
![[Review] SSD Sabrent Rocket 4 Plus 4 TB – O que já era rápido ficou ainda mais! 8 acronis true image 1](https://theoverclockingpage.com/wp-content/uploads/2022/05/acronis-true-image-1.jpg?w=780)
![[Review] SSD Sabrent Rocket 4 Plus 4 TB – O que já era rápido ficou ainda mais! 12 sabrent rocket 4 plus 4tb foto introdutoria 1](https://theoverclockingpage.com/wp-content/uploads/2022/05/sabrent-rocket-4-plus-4tb-foto-introdutoria-1.jpg?w=1024)
![[Review] SSD Sabrent Rocket 4 Plus 4 TB – O que já era rápido ficou ainda mais! 23 sabrent rocket 4 plus 4tb clearance do dissipador](https://theoverclockingpage.com/wp-content/uploads/2022/05/sabrent-rocket-4-plus-4tb-clearance-do-dissipador.jpg?w=656)
![[Review] SSD Sabrent Rocket 4 Plus 4 TB – O que já era rápido ficou ainda mais! 24 sabrent rocket 4 plus 1tb controlador](https://theoverclockingpage.com/wp-content/uploads/2022/04/sabrent-rocket-4-plus-1tb-controlador.jpg?w=780)
![[Review] SSD Sabrent Rocket 4 Plus 4 TB – O que já era rápido ficou ainda mais! 25 sabrent rocket 4 plus 4tb dram cache](https://theoverclockingpage.com/wp-content/uploads/2022/05/sabrent-rocket-4-plus-4tb-dram-cache.jpg?w=1024)
![[Review] SSD Sabrent Rocket 4 Plus 4 TB – O que já era rápido ficou ainda mais! 26 sabrent rocket 4 plus 4tb nand flash](https://theoverclockingpage.com/wp-content/uploads/2022/05/sabrent-rocket-4-plus-4tb-nand-flash.jpg?w=1024)
![[Review] SSD Sabrent Rocket 4 Plus 4 TB – O que já era rápido ficou ainda mais! 27 interleaving](https://theoverclockingpage.com/wp-content/uploads/2022/05/interleaving.gif?w=1024)
![[Review] SSD Sabrent Rocket 4 Plus 4 TB – O que já era rápido ficou ainda mais! 28 patente mds](https://theoverclockingpage.com/wp-content/uploads/2022/05/patente-mds.jpg?w=794)
![[Review] SSD Sabrent Rocket 4 Plus 4 TB – O que já era rápido ficou ainda mais! 29 image 7](https://theoverclockingpage.com/wp-content/uploads/2022/04/image-7.png?w=780)
![[Review] SSD Sabrent Rocket 4 Plus 4 TB – O que já era rápido ficou ainda mais! 30 exemplo pmic](https://theoverclockingpage.com/wp-content/uploads/2022/04/exemplo-pmic.jpg?w=780)
![[Review] SSD Sabrent Rocket 4 Plus 4 TB – O que já era rápido ficou ainda mais! 31 sabrent rocket 4 plus 4tb pmic](https://theoverclockingpage.com/wp-content/uploads/2022/05/sabrent-rocket-4-plus-4tb-pmic.jpg?w=976)
![[Review] SSD Sabrent Rocket 4 Plus 4 TB – O que já era rápido ficou ainda mais! 32 exemplo variante tweaktown](https://theoverclockingpage.com/wp-content/uploads/2022/05/exemplo-variante-tweaktown.jpg?w=1024)
![[Review] SSD Sabrent Rocket 4 Plus 4 TB – O que já era rápido ficou ainda mais! 41 iops](https://theoverclockingpage.com/wp-content/uploads/2022/05/iops.png?w=750)
![[Review] SSD Sabrent Rocket 4 Plus 4 TB – O que já era rápido ficou ainda mais! 46](https://theoverclockingpage.com/wp-content/uploads/2022/04/capsule_616x353.jpg)
![[Review] SSD Sabrent Rocket 4 Plus 4 TB – O que já era rápido ficou ainda mais! 47 3dmark 01](https://theoverclockingpage.com/wp-content/uploads/2022/05/3dmark-01.png?w=756)
![[Review] SSD Sabrent Rocket 4 Plus 4 TB – O que já era rápido ficou ainda mais! 50 pcmark10 fb og](https://theoverclockingpage.com/wp-content/uploads/2022/04/pcmark10-fb-og.jpg?w=780)
![[Review] SSD Sabrent Rocket 4 Plus 4 TB – O que já era rápido ficou ainda mais! 51 pcmark10](https://theoverclockingpage.com/wp-content/uploads/2022/05/pcmark10.png?w=756)
![[Review] SSD Sabrent Rocket 4 Plus 4 TB – O que já era rápido ficou ainda mais! 52 premiere pro](https://theoverclockingpage.com/wp-content/uploads/2022/04/premiere-pro.jpg?w=780)
![[Review] SSD Sabrent Rocket 4 Plus 4 TB – O que já era rápido ficou ainda mais! 53 premiere](https://theoverclockingpage.com/wp-content/uploads/2022/05/premiere.png?w=756)
![[Review] SSD Sabrent Rocket 4 Plus 4 TB – O que já era rápido ficou ainda mais! 54 gta v](https://theoverclockingpage.com/wp-content/uploads/2022/05/gta-v.png?w=756)
![[Review] SSD Sabrent Rocket 4 Plus 4 TB – O que já era rápido ficou ainda mais! 57 image](https://theoverclockingpage.com/wp-content/uploads/2022/04/image.png?w=567)
![[Review] SSD Sabrent Rocket 4 Plus 4 TB – O que já era rápido ficou ainda mais! 58 pslc cache grafico](https://theoverclockingpage.com/wp-content/uploads/2022/05/pslc-cache-grafico.png?w=778)
![[Review] SSD Sabrent Rocket 4 Plus 4 TB – O que já era rápido ficou ainda mais! 59 pslc cache volume 1](https://theoverclockingpage.com/wp-content/uploads/2022/05/pslc-cache-volume-1.png?w=756)
![[Review] SSD Sabrent Rocket 4 Plus 4 TB – O que já era rápido ficou ainda mais! 63 pslc cache recovery](https://theoverclockingpage.com/wp-content/uploads/2022/05/pslc-cache-recovery.png?w=756)
![[Review] SSD Sabrent Rocket 4 Plus 4 TB – O que já era rápido ficou ainda mais! 64 diskbench iso](https://theoverclockingpage.com/wp-content/uploads/2022/05/diskbench-iso.png?w=756)
![[Review] SSD Sabrent Rocket 4 Plus 4 TB – O que já era rápido ficou ainda mais! 65 diskbench pasta](https://theoverclockingpage.com/wp-content/uploads/2022/05/diskbench-pasta.png?w=756)
![[Review] SSD Sabrent Rocket 4 Plus 4 TB – O que já era rápido ficou ainda mais! 66 diskbench csgo](https://theoverclockingpage.com/wp-content/uploads/2022/05/diskbench-csgo.png?w=756)
![[Review] SSD Sabrent Rocket 4 Plus 4 TB – O que já era rápido ficou ainda mais! 69 temperatura comparativo 1](https://theoverclockingpage.com/wp-content/uploads/2022/05/temperatura-comparativo-1.png?w=756)

Excelente review! Parabéns pela análise!!
Obrigado 😀